오늘은 임대주택의 종류 중 하나인 통합공공임대주택에 관한 내용으로 포스팅을 준비했습니다.
이 주택은 국가나 지방자치단체의 재정이나 주택도시기금의 지원을 받아 사회취약계층 등의 주거 안정을 목적으로 공급하는 임대주택입니다.
"통합공공임대주택"
✅ 입주자격 : 입주자모집공고일 현재【무주택세대구성원】으로, 아래의 소득과 자산보유 기준을 충족하는 사람입니다.
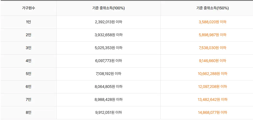
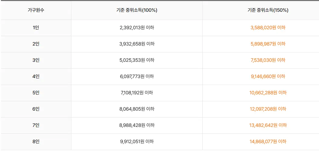
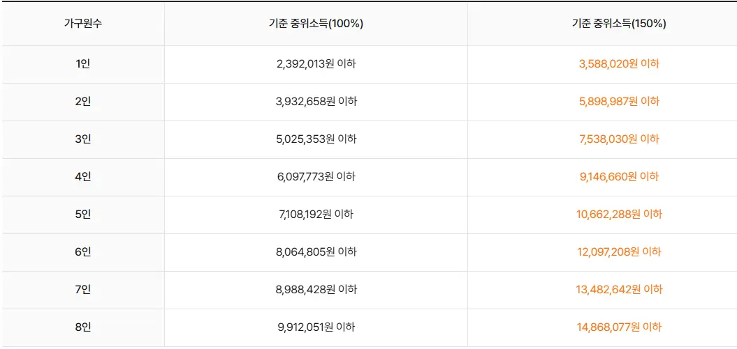
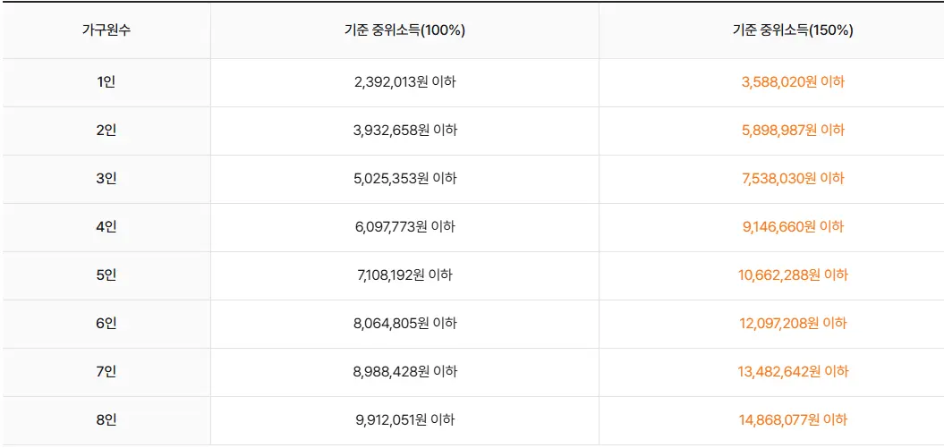
➡️ 소득기준 : 가구원수별 기준 중위소득(우선공급은 기준 중위소득 100% 이하, 일반공급은 기준 중위소득 150% 이하)
➡️ 자산기준 : 총자산가액과 자동차가액이 다음의 기준에 따른 금액 이하를 충족하여야 합니다.
① 총자산가액 → 세대 구성원 전원이 보유하고 있는 모든 총자산 가액 합산기준 33,700만 원 이하(부동산, 자동차, 금융자산, 일반자산을 합산한 금액에서 부채를 차감하여 산출)
② 자동차가액 → 세대 구성원 전원이 보유하고 있는 모든 자동차가액 3,803만 원 이하(비영업용 승용자동차에 한하며, 장애인 사용 자동차, 국가유공자(상이 1~7등급) 보철용 차량은 제외)
🔍 아래에서 임대주택 관련 다른 정보도 확인해 보세요!
✅ 행복주택(공공임대주택) 청약자격, ✅ 신혼희망타운 공공임대(임대형) 청약자격, ✅ 청년전세임대주택 청약자격, ✅ 신혼부부전세임대주택(ⅠⅡ) 청약자격, ✅ 기존주택전세임대주택 청약자격
✅ 공공임대주택 청약자격, ✅ 국민임대주택 청약자격, ✅ 매입임대(공공임대주택) 청약자격, ✅ 장기전세주택 청약자격, ✅ 영구임대주택 청약자격, ✅ 전세임대주택 청약자격, ✅ 공공지원민간임대주택 청약자격
"일반공급 입주자격"
① 청년 → 무주택자로, 다음 요건을 모두 갖춘 사람이 대상입니다.
1) 공급신청자의 월평균 소득이 국민기초생활 보장법에 따른 기준 중위소득의 150%(가구원 수가 1명인 경우에는 170%, 2명인 경우에는 160%) 이하일 것, 2) 만 18세 이상 39세 이하일 것, 3) 혼인 중이 아닐 것
② 신혼부부· 한부모 → 다음 요건을 모두 갖춘 사람으로, 1) 다음의 어느 하나에 해당하는 사람, 가) 혼인 중인 사람으로서 혼인 기간이 7년 이내인 사람
나) 예비신혼부부(혼인을 계획 중이며 해당 주택의 입주 전까지 혼인 사실을 증명할 수 있는 사람), 다) 혼인 중인 사람으로서 만 6세 이하 자녀(태아 포함)를 둔 사람, 라) 만 6세 이하 자녀를 둔 한부모가족
2) 무주택세대구성원(예비신혼부부의 경우 혼인으로 구성될 세대의 세대구성원 모두 무주택자인 경우) 일 것
3) 해당 세대의 월평균소득(예비신혼부부의 경우 혼인으로 구성될 세대의 세대 구성원 월평균 소득의 합계)이 기준 중위소 득의 150% [본인 및 배우자(예비신혼부부의 경우 혼인할 상 대방)가 모두 소득이 있는 경우에는 180%] 이하일 것
✔️ 다만, 가구원 수가 2명인 경우에는 기준 중위소득의 160%(본인 및 배우자가 모두 소득이 있는 경우에는 190%) 이하입니다.
③ 고령자 → 무주택세대구성원(혼인 중이 아닌 경우로 단독세대주로 입주하려는 사람의 경우에는 무주택자)으로, 다음의 요건을 모두 갖춘 사람입니다.
1) 해당 세대의 월평균 소득이 기준 중위소득의 150%(가구원 수가 1명인 경우에는 170%, 2명인 경우에는 160%) 이하일 것 나), 2) 만 65세 이상일 것
④ 일반 → 다음의 요건을 모두 갖춘 사람으로, 1) 무주택세대구성원일 것, 2) 해당 세대의 월평균 소득이 기준 중위소득의 150%(가구원 수가 1명인 경우에는 170%, 2명인 경우에는 160%) 이하일 것
"우선공급 입주자격"
① 철거민 등 → 무주택세대구성원으로, 철거하는 주택의 소유자 또는 세입자, ② 국가유공자 등 → 무주택세대구성원으로 해당 세대의 월평균 소득이 기준 중위소득의 100%(가구원 수가 1명인 경우에는 120%, 2명인 경우에는 110%) 이하인 사람 중
다음의 어느 하나에 해당하는 사람으로 국가보훈처장이 입주가 필요하다고 인정하는 사람 1) 국가유공자 또는 그 유족, 2) 보훈보상대상자 또는 그 유족, 3) 5·18민주유공자 또는 그 유족, 4) 특수임무유공자 또는 그 유족, 5) 참전유공자
③ 장기복무제대군인, 북한이탈주민 등 → 1) 무주택세대구성원으로, 해당 세대의 월평균 소득이 기준 중위소득의 100%(가구원 수 1명 120%, 2명 110%) 이하인 사람으로 자세한 내용은 해당 입주자모집공고문을 참고하세요
④ 다자녀 가구 등 → 무주택세대구성원으로서 해당 세대의 월평균 소득이 기준 중위소득의 100%(가구원 수가 2명인 경우에는 110%) 이하인 사람 중 다음의 어느 하나에 해당하는 사람입니다.
1) 미성년자 2명 이상의 자녀를 둔 사람, 2) 만 65세 이상 직계존속(배우자 직계존속 포함)을 1년 이상 계속하여 부양(주민등록표상에 등재된 경우로 한정)하고 있는 사람, 3) 여성가족부장관이 정하는 기준에 해당하는 지원 대상 한부모가족
⑤ 장애인 → 무주택세대구성원으로서 해당 세대의 월평균 소득이 기준 중위소득의 100%(가구원 수가 1명인 경우에는 120%, 2명인 경우에는 110%) 이하인 사람 중 장애인등록증이 교부된 사람
⑥ 비주택 거주자 등 → 무주택세대구성원으로서 해당 세대의 월평균 소득이 기준 중위소득의 100%(가구원 수가 1명인 경우에는 120%, 2명인 경우에는 110%) 이하인 사람 중 다음의 어느 하나에 해당하는 사람
1) 비닐 간이공작물 거주자, 쪽방, 고시원, 여인숙, 노숙인시설, 컨테이너, 움막, PC방, 만화방, 침수 피해가 우려되거나 최저주거기준에 미달하는 반지하
2) 국토교통부장관이 공고한 최저주거기준에 미달하는 주거환경에서 미성년자인 자녀와 함께 거주하는 사람으로 거주지 관할 시장ㆍ군수 또는 구청장이 공공주택사업자에게 추천하는 사람, 3) 무허가건축물 등에 입주한 세입자
⑦ 기초생활 보장제도 급여 수급자 등 → 무주택세대구성원으로, 기초생활 보장법 제7조 제1항 제1호부터 제3호까지의 어느 하나에 해당하는 급여의 수급권자 또는 수급자
⑧ 청년 → 무주택자로, 다음의 요건을 모두 갖춘 사람 1) 공급신청자의 월평균 소득이 기준 중위소득의 100%(가구원 수가 1명인 경우에는 120%, 2명인 경우에는 110%) 이하일 것
2) 다음의 어느 하나에 해당하는 사람, 가) 만 18세 이상 39세 이하일 것, 나) 아동복지시설에서 퇴소 또는 가정위탁이 종료 예정이거나 퇴소 또는 종료한 지 5년이 지나지 않은 사람
다) 청소년쉼터에서 퇴소 예정이거나 퇴소한 지 5년이 지나지 않은 사람(청소년쉼터를 2년 이상 이용한 사람으로 한정)으로 여성가족부장관이 주거지원이 필요하다고 인정한 사람, 3) 혼인 중이 아닐 것
⑨ 신혼부부·한부모가족 → 다음의 요건을 모두 갖춘 사람, 1) 다음의 어느 하나에 해당하는 사람
가) 혼인 중인 사람으로서 혼인 기간이 7년 이내인 사람, 나) 예비신혼부부, 다) 혼인 중인 사람으로서 만 6세 이하 자녀를 둔 사람, 라) 만 6세 이하 자녀를 둔 한부모가족
2) 무주택세대구성원(예비신혼부부는 혼인으로 구성될 세대구성원 포함) 일 것, 3) 해당 세대의 월평균소득(예비신혼부부는 혼인으로 구성될 세대 구성원 월평균 소득 합계)이 기준 중위소득의 100%(가구원 수 2명인 경우 110%) 이하일 것
⑩ 고령자 → 무주택세대구성원으로, 다음의 요건을 모두 갖춘 사람, 1) 해당 세대의 월평균 소득이 기준 중위소득의 100%(가구원 수가 1명인 경우에는 120%, 2명인 경우에는 110%) 이하일 것, 2) 만 65세 이상일 것
✅ 입주자 선정기준 : ① 일반공급 → 경쟁 시 추첨으로 입주자를 선정, ② 우선공급 → 배점 합산 점수가 높은 순서에 따라 선정하되, 동점 시 추첨으로 선정합니다.
✅ 주택규모 : 전용면적 기준 85㎡ 이하
✅ 임대기간 : 2년 단위로 계약체결(임대의무기간 : 30년)
✅ 임대조건 : 입주자의 소득에 따라 시중 시세의 35~90% 수준
| 기준중위소득 | 30%이하 | 30~50% | 50~70% | 70~100% | 100~130% | 130~150% |
| 시세대비 임대료율 |
35% | 40% | 50% | 65% | 80% | 90% |
✅ 신청절차 : ① 입주자모집공고 → 사업 주체(한국토지주택공사, 지방공사 등)의 홈페이지 등을 통해 입주자 모집공고
② 신청 → 1) 현장 접수 : 입주희망자는 사업주체가 지정한 장소에서 신청서 작성 및 관련 서류 제출, 2) 인터넷 접수 : 사업 주체의 홈페이지 등을 통해 청약 신청 (한국토지주택공사 LH청약센터(apply.lh.or.kr) → 로그인 → 청약신청)
③ 입주자 선정 및 확인 → 사업 주체의 홈페이지, ARS를 통해 당첨자 명단 발표하며, 모집호수의 일정 비율을 예비입주자로 선정합니다. (LH ARS서비스 : 1661-7700)
④ 임대차 계약 체결 → 입주가 확정된 세대는 사업 주체가 지정한 장소에서 임대차계약 체결(예비입주자는 입주예정자의 미계약 또는 해약 시 순위에 따라 계약체결 가능)
⑤ 입주 → 잔금 납부 후 입주 가능하며, 해당 관리사무소는 입주 이후 전입 신고된 주민등록표등본을 확인하여 계약자 본인의 입주 여부를 확인합니다.
자료출처 : 마이홈포털
✍️ 마무리하며...
여러분! 오늘의 정보가 주거 문제 해결의 한 부분이 되길 바랍니다. 다음 포스팅에서는 또 다른 유익한 이야기로 찾아뵙겠습니다. 꿈과 희망으로 가득 찬 미래를 위해, 항상 응원하겠습니다. 감사합니다!

(사전청약제도)【☞ 보러가기 ☜】
사전청약제도
오늘은 무주택 실수요자의 내집 마련 기회를 앞당기고 수도권 청약 대기수요 해소를 목적으로 공공택지 등에서 공급되는 공공·민간 사전청약 제도에 관한 내용으로 포스팅을 준비했습니다.
mjdd.co.kr


댓글